Massimizzatore300/Merlino · 715PCH0010

Thermal Dynamics - Elettrodi, adatti per Maximiser 300 Merlin 1000


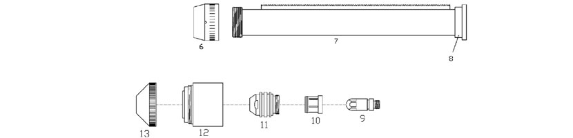
Elettrodi, adatti per Maximiser 300 Merlin 1000 (posizione 8 nella vista dettagliata), diverse versioni vedi varianti.

Direttamente nel carrello della spesa
Indietro
Questi articoli sono stati visti

© 2026 - Schweiss-Shop.de

Il logo del produttore Thermal Dynamics
admin